行业动态

了解最新公司动态及行业资讯

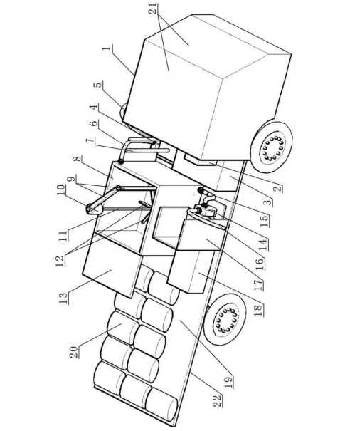
车载自吸水式农田土壤修复设备有什么优点

2018-03-28 07:29:12 172 编辑:admin 来源:本站
       由于我国人多地少,耕地利用强度高,对于大面积受重金属污染的农田,难以采用 工程措施进行修复,只能采用边生产、边修复的路径。其中,施用土壤修复剂是一种重要方 法。农田修复区域丘块分散,田埂、河流、沟渠纵横交错,要求土壤修复设备既能满足药剂撒施, 又能灵活移动,而且不能破坏农田基础设施。由于行业刚刚兴起,目前针对农田土壤修复设备剂 的撒施设备还不多。 

        车载自吸水式农田土壤修复设备剂施撒,包括车载移动平台,车载移动平台包括车头和车厢,车厢的车厢头部上设有发电机组、搅拌箱、吸水泵、进料平台、喷施泵和人工站台,车头设有与发电机组电连接的控制箱,吸水泵的进水口密闭连接有吸水管,吸水泵的出水口密闭连接有上水管;搅拌箱与上水管相连通,搅拌箱顶部设有搅拌电机,搅拌箱的箱内竖直设有辊轴,辊轴上设有搅拌叶轮;喷施泵的进水口密闭连接有出水管,喷施泵的出水口密闭连接有喷施管,人工站台靠近喷施泵设置;吸水泵、搅拌电机、喷施泵分别与控制箱电连接;车厢的车厢尾部具有修复剂堆放区。本发明具有可自吸水、无粉尘污染、灵活高效、无破坏性等优点。

30

装备制造经验

立即免费获取土壤修复方案

为用户提供及时、高效、便捷的服务

在线咨询
AG视讯环境希望与你携手,共创美好未来...
5