行业动态

了解最新公司动态及行业资讯

负压土壤热解析设备的构造

2019-02-27 01:54:34 116 编辑:admin 来源:本站
     随着我国工业化的发展和城市化进程的加快,城市污水处理率的提高,产生了大 量污泥和垃圾,污泥是一种性质复杂、污染物含量高、潜在环境风险巨大的污染物,是高含 水率的液固物质,含有大量的病原菌、寄生虫卵,以及铬、汞等重金属有毒有害物质。污泥和 垃圾已经严重影响了人们的生产生活,给环境造成了严重污染,城市污泥和垃圾处理问题 已经成为当今社会需解决的一大环保难题。
土壤热脱附
    相对于污泥的填埋处理和堆肥处理,焚烧法具有减容、减重率高,处理速度快,无 害化较为彻底,能源再利用等优点,是处置污泥的有效实用技术之一。虽然焚烧处理污泥具 有很多优点,但由于自然絮凝沉淀的污泥的含水率一般在 90% 以上,采用机械脱水装置脱 水处理后,一般仍高于 75%,如此高的含水率一方面不能维持燃烧过程的自持进行,必须干 化去除一部分水分 ;另一方面使污泥体积庞大,增加了焚烧处理过程中运输、存储的难度, 因此利用燃煤电站锅炉排出的高温烟气利用及其不方便。同时建设污泥干化炉往往需要很 大的一次性投资。 
 
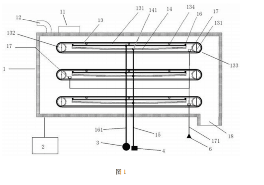
    一种负压土壤热解析装置,由壳体构成,该壳体上设有:置于壳体顶端的进料口及烟气出口,置于壳体底端的污泥出口;该壳体的内部设有:至少一个干化传输网带设备、至少一个滤水隔板、一个滤水收集设备、至少一个高压冲洗设备及至少一个高温烟气喷口;干化传输网带设备通过网带安装框架与壳体内部支架连接固定;滤水隔板通过支架与上述网带安装框架固定连接;上述的高压冲洗设备位于滤水隔板的两端;高温烟气喷口通过高温烟气管道支架与网带安装框架固定连接;上述干化传输网带设备、高压水泵分别连接自动控制装置。本技术发明充分的利用了一级烟气的余热,在处理污泥的同时,环保、高效率、节约能源,无二次污染。
 

30

装备制造经验

立即免费获取土壤修复方案

为用户提供及时、高效、便捷的服务

在线咨询
AG视讯环境希望与你携手,共创美好未来...
5