土壤修复热解吸或热脱附时,需要对产生的高温烟气进行冷却处理,最常使用到的设备就是冷却塔,特别是针对多环芳烃等有机污染物的热脱附系统中,从土壤中热脱附出来的多环芳烃等有机物需要经过二次燃烧,将多环芳烃等有机物进行充分燃烧变成二氧化碳、水蒸汽等无机氧化物,其二次燃烧后的尾气温度高达1000℃,为了抑制或避免二嗯英的产生,需要将1000℃的高温尾气快速降温至150℃~200℃左右。在此急速降温的过程中,冷却塔内会产生大量的飞灰,沉积在冷却塔底部的斜板上。而这些飞灰积累到一定厚度后,将严重影响设备内部的尾气流动,从而影响整套热脱附设备的运行。
本实用新型要解决的技术问题是提供一种结构简单、经济环保、可有效除去冷却塔内累积灰尘的土壤修复热脱附系统的冷却塔除灰装置。
一、为解决上述技术问题,本实用新型采用如下技术方案:
本实用新型
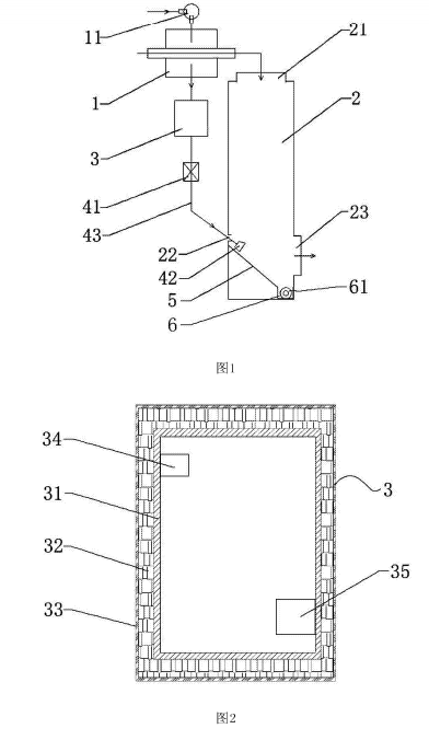
土壤热脱附修复技术的冷却塔除灰装置,包括热交换器、冷却塔、自动吹扫系统和自动控制系统,高温烟气管道通过热交换器与冷却塔的第一进气口连接,空气管道通过热交换器与储气罐的进气口连接,所述自动吹扫系统包括电磁脉冲阀和喷嘴,所述储气罐出气口通过第一管道与一组喷嘴连接,所述第一管道上串联设置电磁脉冲阀,所述冷却塔下部侧壁分别开设有第二进气口和烟气出口,喷嘴通过第二进气口伸入冷却塔内,所述冷却塔底部、在喷嘴下方设有斜撑板,斜撑板较低一侧设置有集灰槽,所述集灰槽出口与螺旋输送机连通,电磁脉冲阀的信号输入端与自动控制系统的信号输出端电连接。
本实用新型土壤修复热脱附系统的冷却塔除灰装置,进一步的,所述斜撑板与水平方向的夹角为30 0-45 0,所述喷嘴的喷射方向与斜撑板平行。
本实用新型土壤修复热脱附系统的冷却塔除灰装置,进一步的,所述高温烟气管道与热交换器的第一热源进口连接,热交换器的第一冷源出口通过管道与冷却塔第一进气口连接,鼓风机的出气口通过管道与热交换器的第二冷源进口连接,热交换器的第二热源出口通过管道与储气罐进气口连接。
本实用新型土壤修复热脱附系统的冷却塔除灰装置,进一步的,所述储气罐的罐壁为三层结构,由内向外依次为不锈钢层、保温隔热层和碳钢层。
本实用新型土壤修复热脱附系统的冷却塔除灰装置,进一步的,所述喷嘴数量为4-8个,在水平面内平行排列。
本实用新型土壤修复热脱附系统的冷却塔除灰装置,进一步的,所述斜撑板的较高一侧位于第二进气口下方,与冷却塔侧壁固定,斜撑板较低一侧通过集灰槽与冷却塔侧壁连接,所述集灰槽位于烟气出口下方。
本实用新型土壤修复热脱附系统的冷却塔除灰装置,进一步的,所述储气罐内还设置有压力传感器和温度传感器,所述压力传感器和温度传感器的信号输出端通过导线与自动控制系统的信号输入端电连接,自动控制系统的信号输出端通过导线与鼓风机的信号输入端电连接。
二、新型土壤修复热脱附系统的冷却塔除灰装置与现有技术相比具有如下有益效果:
本实用新型土壤修复热脱附系统的冷却塔除灰装置使1000℃的高温烟气与常温状态下的压缩空气先进行第一次热交换,不仅得到了150℃左右的热空气,而且实现了高温烟气的初步降温,且降温后的烟气温度为700-800℃,处于安全温度范围,避免了二唾英等物质的生成,降低了冷却塔内对高温烟气降温的负担,减少了能耗;得到的高温烟气通过自动吹扫系统进入冷却塔内,对斜撑板进行定时、定频、自动吹扫,可有效避免颗粒较小、质量较轻的灰尘颗粒附着在斜撑板表面,造成通孔堵塞等情况,热能得到了充分的利用,大大提高了能源的利用率:吹扫的热空气温度为150℃左右,不会因为热空气的额外引入,而影响冷却塔的原有效果,对冷却塔的尾气出口温度,压力、流量等因素影响极小。
本实用新型采用热空气吹扫进行密封式除灰,通过吹扫将灰尘收集到集灰槽内,设备中增加的机械性设备较少,结构简单,冷却塔开口较少,基本实现了密封除灰,除灰效果好,成本较低。
本实用新型在储气罐内设置了压力传感器和温度传感器,当其监测到储气罐内的热空气压力不足或温度低于设定标准时,可通过电磁脉冲阀调节喷嘴的喷气流量或喷气频率,或调节鼓风机吹入常温空气的流量,以保证储气罐内的热空气保持一个相对稳定的压力和温度环境,使得系统更加稳定,最大限度的减小了吹扫除灰系统对烟气冷却的影响。
三、附图说明
图l为本实用新型土壤修复热脱附系统的冷却塔除灰装置的结构示意图;
图2为储气罐的结构示意图。
附图标记:
l一热交换器;11-鼓风机;2一冷却塔;21a第一进气口;22-第二进气口;23-烟气出口;3-储气罐;31-不锈钢层;32-保温隔热层;33-碳钢层;34-压力传感器;35-温度传感器;41-电磁脉冲阀;42-喷嘴;43-第一管道;5-斜撑板;6-集灰槽;61-螺旋输送机。